•
@exploitex
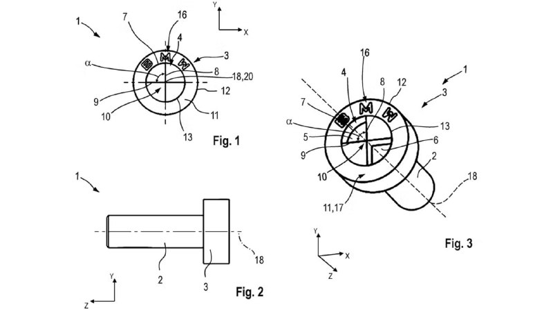
BMW не хочет, чтобы вы ремонтировали своё авто — компания запатентовала круглые винты с головкой в виде логотипа, которые могут снять... только официальные дилеры. Стандартными инструментами винты никак не открутить. BMW-воды уже в шоке: самостоятельный ремонт становится практически невозможен. А в России эффект будет сильнее — официальных дилеров мало, а большинство владельцев полагаются на сторонние сервисы. Патент распространяется на крепления в салоне и конструктивно важных местах, например для сидений и соединений кузова. Это напрямую ограничивает доступ независимых мастерских к обслуживанию. Одна надежда на «Кулибиных», которые смогут быстро «взломать» систему. @exploitex
BMW не хочет, чтобы вы ремонтировали своё авто — компания запатентовала круглые винты с головкой в виде логотипа, которые могут снять... только официальные дилеры. Стандартными инструментами винты никак не открутить.
BMW-воды уже в шоке: самостоятельный ремонт становится практически невозможен. А в России эффект будет сильнее — официальных дилеров мало, а большинство владельцев полагаются на сторонние сервисы.
Патент распространяется на крепления в салоне и конструктивно важных местах, например для сидений и соединений кузова. Это напрямую ограничивает доступ независимых мастерских к обслуживанию.
Одна надежда на «Кулибиных», которые смогут быстро «взломать» систему.
@exploitex
